RFN E-1000

Battery / Controller

Battery / Controller

Frame

Frame

Front suspension system

Front suspension system

Handlebar & Brake

Handlebar & Brake

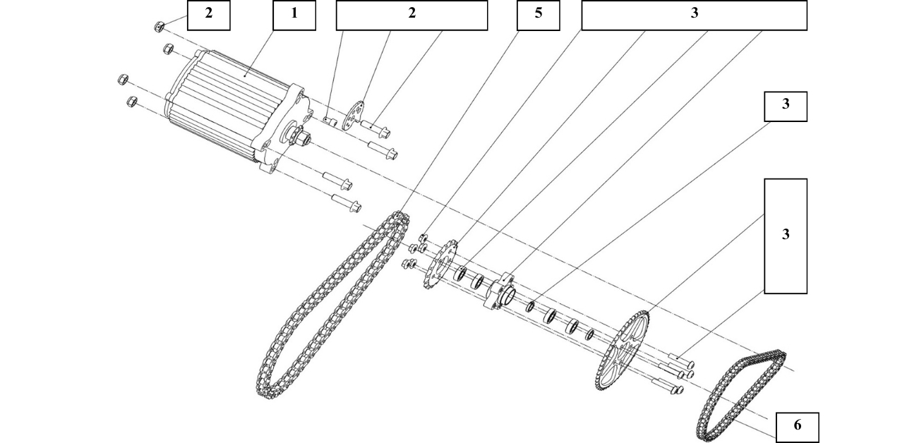
Motor & Transmission system

Motor & Transmission system

Plastic body

Plastic body

Rear axle system

Rear axle system

Rear swing arm

Rear swing arm

Steering stem

Steering stem

Wheels

Wheels